Установка ТНВД происходит по следующему алгоритму:
- Ведомая полумуфта (рис. 1, 2) устанавливается на муфту опережения (демпферную муфту) и закрепляется болтами;

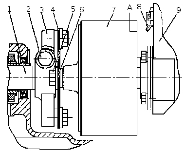
Рис. 1. Привод топливного насоса высокого давления двигателей ЯМЗ-238БЕ2 и ЯМЗ-238ДЕ2: 1 — ведущая полумуфта; 2 — болт клеммового соединения; 3 — фланец полумуфты; 4 — пластины привода; 5 — болты крепления пластин привода; 6 — шайбы; 7 — демпферная муфта; 8 — указатель; 9 — топливный насос высокого давления; А — метка на демпферной муфте
Рис. 2. Привод топливного насоса высокого давления двигателей ЯМЗ-238БЕ и ЯМЗ-238ДЕ: 1 — вал привода; 2 — пластины привода; 3 — ведущая полумуфта; 4 — болты; 5 — болт клеммового соединения; 6 — болты; 7 — полумуфта ведомая; 8 — муфта опережения впрыскивания топлива; 9 — топливный насос высокого давления; А — метка на муфте; Б — метка на указателе. - Поворачиваем муфту так, чтобы бобышки ведомой полумуфты оказались горизонтально, а насечка на торце муфты встала в область указателя;
- Далее нам понадобится фланец полумуфты привода ТНВД в сборе с ведущей полумуфтой и пакетами пластин на вал привода, при этом выступ «А» на фланце полумуфты будет располагаться слева, если взглянуть со стороны вентилятора на привод;
- Далее на двигатель устанавливаем топливный насос высокого давления с демпферной муфтой в сборе, фиксируем болтами. Регулируем плоскость пакетов пластин с помощью движения фланца полумуфты по валу привода и только после этого закручиваем стяжной болт привода и устанавливаем угол опережения впрыскивания. Топливный насос должен быть установлен на блок цилиндров двигателя вертикально, при этом болты крепления нужно закручивать равномерно, без завала насоса. Последний момент затяжки болтов крепления насоса 30...40 Нм (3...4 кг/см). Соединяем отделы насоса с форсунками топливопроводами высокого давления в порядке, указанном на рис.3.

Рис. 3. Схема соединения топливопроводами высокого давления секций ТНВД и форсунок цилиндров двигателя. - Регулируем угол опережения впрыскивания топлива. Оцениваем количество масла в корпусах топливного насоса высокого давления и регулятора. В случае необходимости добавляем масла до уровня отверстия под трубку отвода масла. Стыкуем трубки провода и отвода масла с топливопроводами.
Запустив двигатель, регулируем минимальную частоту оборотов холостого хода коленчатого вала таким образом:
- Ослабляем контргайку и выворачиваем корпус буферной пружины на 2-3 мм.
- С помощью болта ограничения минимальной частоты вращения (рычаг управления упирается в данный болт) подрегулировать минимальную частоту вращения холостого хода до появления небольших вибраций частоты вращения коленчатого вала двигателя. Когда болт вкручивается, обороты двигателя возрастают, когда выкручиваются — сокращаются.
- Ввинчиваем корпус буферной пружины до пропадания непостоянства частоты вращения. Строго запрещено ввинчивать корпус до совпадения его торца с торцом контргайки. Завершив регулирование необходимо закрепить болт минимальной частоты вращения и корпус буферной пружины гайками.
Минимальная частота вращения холостого хода также регулируется в новом моторе в самом начале его использования. Стоит отметить, что строго запрещено нарушать регулировку максимальных оборотов, произведенную на заводе-изготовителе, без дальнейшего контроля на стенде во время эксплуатации.
|
Купить запчасти вездехода МТЛБ с доставкой по РФ |
|
![]() |
с доставкой по РФ |
